
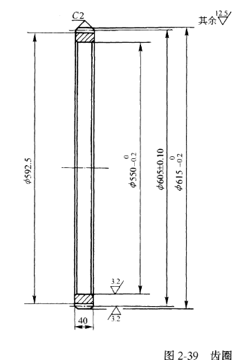
技術要求
1、齒圈徑向跳動公差0.08mm。
2、未注倒角1×45°。
3、材料ZG45。
齒輪基本參數
模數(m)=5
齒數(z)=121
壓力角(α)=20°
精度等級9HM
1、零件圖樣分析
1)齒圈徑向跳動公差為0.08mm。
2)齒輪精度等級9hM。
3)齒圈熱處理207~241HRB。
4)未注倒角1×45°。
5)材料ZG45。
2、齒圈機械加工工藝過程卡 (表2-30)
表2-30齒圈機械加工工藝過程卡
工序號 |
工序名稱 |
工序內容 |
工藝裝備 |
1 |
鑄 |
鑄造 |
|
2 |
清砂 |
清砂 |
|
3 |
熱處理 |
回火207~241HRB |
|
4 |
粗車 |
夾外圓,粗車內孔尺寸至φ545 mm,車端面,見平即可 |
CA6163 |
5 |
粗車 |
以φ545 mm內孔(工藝尺寸)及一端面定位裝夾工件,粗車外圓至φ620 mm,車端面,保證厚度尺寸45mm |
CA6163 |
6 |
精車 |
以φ620 mm外圓及一端面定位裝夾工件,精車內孔至圖樣尺寸φ550 mm,車端面,保證總厚為42.5mm,倒內角1×45° |
CA6163
專用工裝 |
7 |
精車 |
倒頭,以φ550 mm及一端面定位裝夾工件,精車外圓至圖樣尺寸φ615 mm車端面,保證厚度尺寸40 mm,各部倒角1×45° |
CA6163
專用心軸 |
8 |
檢驗 |
按圖樣要求,檢查齒坯各部尺寸及精度 |
|
9 |
滾齒 |
以φ550 mm內孔及一端面定位裝夾工作,滾齒(m=5、z=121) |
Y3180
專用心軸 |
10 |
鉗工 |
去毛刺,尖角倒鈍 |
|
11 |
檢驗 |
按圖要求檢查工件各部尺寸及精度 |
|
12 |
入庫 |
涂油入庫 |
|
3、工藝分析
1)齒圈的直徑和壁厚的比值較大,容易產生變形,為了減小孔徑的變形和平面的翹曲,在加工過程中應增大夾緊面的面積,建議精車時采用專用工裝進行裝夾工件。
2)齒圈的變形,在裝配后會有一定程度的校正,在加工檢驗時,對內孔圓度要求不高可以免除檢驗要求。
3)齒圈內、外徑在自由狀態下檢驗時,應多測量幾點,在不同位置時都應該在公差范圍之內。
4)齒圈徑向跳動公差的檢查,可參考“倒檔齒輪”一例中工藝分析中3)進行。